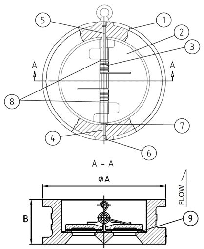
Double butterfly disc, duo plate design
Design according to API594
Flange connection standard: GB/T 9113, EN1092-2 PN10/PN16, ANSI B16.10 125LB/150LB
Pressure test: EN 12266-1
Size range : 2″ to 24″, DN50 to DN600
Pressure range : PN10, PN16, CL125/150
Applications: water supply, drinking water, irrigation, sewage
Painting: the inner and outer surface of the valve is coated with powder epoxy coating.
Material List:
| Part Name | Material |
| Body | Cast Iron, Ductile Iron, ASTM A536 |
| Disc | ASTM A536, Ductile Iron, Stainless Steel CF8, CF8M |
| Seal ring | SS304, SS316, Bronze, EPDM, NBR, PTFE, VITON |
| Spring | SS410, SS304, SS316 |
| Stem | SS410, SS304, SS316 |
Dimensions:

| DN | 50 | 65 | 80 | 100 | 125 | 150 | 200 | 250 | 300 | 350 | 400 | 450 | 500 | 600 |
| B(mm) | 43 | 47 | 59 | 60 | 64 | 73 | 79 | 100 | 107 | 121 | 136 | 141 | 143 | 165 |






